

| 김규덕 | |
| 10-2018-0020293 | |
| 2018년02월21일 | |
| 김규덕 | |
| 10-1871469 | |
| 2018년06월20일 | |
| 본 발명은 가변형 신발 밑창 및 이를 구비한 신발에 관한 것으로서, 상세하게는 신축 가능한 구조를 가지며 그형태가 균형감있게 변형되는 가변형 신발 밑창과 발의 부종에 따라 신축되어 착화감이 뛰어난 신발에 관한 것이다. | |
| 본 발명은 상기와 같은 종래 기술의 문제점을 해결하기 위하여 안출된 것으로서, 부종으로 인하여 변형된 발의 형태에 맞추어 평면상 모든 방향으로 신축되면서 형태가 균형감있게 가변되는 가변형 신발 밑창을 제시하고자한다. 특히, 평면상의 모든 방향으로 신축되면서도 발바닥을 견고하게 지지하도록 하여, 부종이 발생한 발을 강하게 압박하지 않으면서도 안정적으로 감싸서 보호할 수 있도록 하고자 한다. 아울러 상기의 가변형 신발 밑창을 구비하여 편안하게 신고 벗을 수 있을 뿐만 아니라 착화감이 뛰어난 신발을 제시하고자 한다. | |
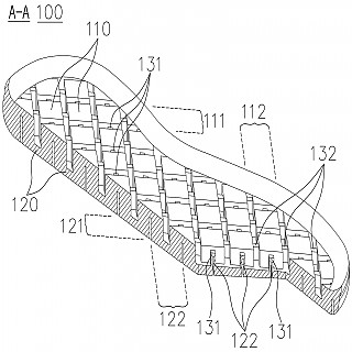
| 본 발명에 의한 가변형 신발 밑창은, 평면상의 모든 방향으로 신축되면서 변화된 발의 형태에 적합하도록 균형감있게 변형되므로, 부종이 발생한 발에도 뛰어난 착화감을 제공한다. 또한 본 발명은 제1-1,2절개홈과 제2-1,2절개홈에 의하여 평면상의 모든 방향으로 신축되면서도, 제1,2연결부에 의하여 신발 밑창이 상방향으로는 쉽게 휘어지는 한편 하방향으로는 쉽게 휘어지지 않도록 하여 편리하고 안정적인 보행을 가능하게 한다. 제2-1,2절개홈은 제1,2연결부를 지나가도록 형성되므로, 제1-1,2절개홈 및 제2-1,2절개홈의 교차부위에 통공이 형성되지 않으며, 제2-1,2절개홈에 의하여 절개된 부위가 매우 자유롭게 신축 가능하다. 아울러 가변형 신발 밑창을 구비한 신발은 부종으로 인하여 형태가 변형된 착화자의 발에 과도한 압박을 가하지 않으면서도 착화감이 뛰어나며 안전한 보행을 가능하게 한다. | |
| 가변형 신발 밑창, 가변형 신발, 밑창 | |
| 본 발명은 가변형 신발 밑창 및 이를 구비한 신발에 관한 것으로서, 가변형 신발 밑창에는 상하면에 격자형태의 절개홈이 형성되며, 상면의 절개홈과 하면의 절개홈의 교차부위에는 통공이 형성되지 않도록 교차부위를 감싸면서 상면의 절개된 부위를 연결하는 연결부가 형성되는 것을 특징으로 한다. |